Product Summary
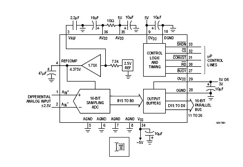
The LTC1604AIG#PBF is an A/D Converter. The LTC1604AIG#PBF is a 333ksps, 16-bit sampling A/D converter that draws only 220mW from ±5V supplies. This high performance device includes a high dynamic range sample-and-hold, a precision reference and a high speed parallel output. Two digitally selectable power shutdown modes provide power savings for low power systems. The LTC1604AIG#PBF’s full-scale input range is ±2.5V. Outstanding AC performance includes 90dB S/(N+D) and –100dB THD at a sample rate of 333ksps. The unique differential input sample-and-hold can acquire single-ended or differential input signals up to its 15MHz bandwidth. The 68dB common mode rejection allows users to eliminate ground loops and common mode noise by measuring signals differentially from the source. The applications of the LTC1604AIG#PBF include Telecommunications, Digital Signal Processing, Multiplexed Data Acquisition Systems, High Speed Data Acquisition, Spectrum Analysis and Imaging Systems.
Parametrics
LTC1604AIG#PBF absolute maximum ratings: (1)Supply Voltage (VDD): 6V; (2)Negative Supply Voltage (VSS): –6V; (3)Total Supply Voltage (VDD to VSS): 12V; (4)Analog Input Voltage (Note 3): (VSS – 0.3V) to (VDD + 0.3V); (5)VREF Voltage (Note 4): – 0.3V to (VDD + 0.3V); (6)REFCOMP Voltage (Note 4): –0.3V to (VDD + 0.3V); (7)Digital Input Voltage (Note 4): –0.3V to 10V; (8)Digital Output Voltage: –0.3V to (VDD + 0.3V); (9)Power Dissipation: 500mW; (10)Operating Temperature Range: –40℃ to 85℃; (11)Storage Temperature Range: –65℃ to 150℃; (12)Lead Temperature (Soldering, 10 sec): 300℃.
Features
LTC1604AIG#PBF features: (1)A Complete, 333ksps 16-Bit ADC; (2)90dB S/(N+D) and –100dB THD (Typ); (3)Power Dissipation: 220mW (Typ); (4)No Pipeline Delay; (5)No Missing Codes over Temperature; (6)Nap (7mW) and Sleep (10mW) Shutdown Modes; (7)Operates with Internal 15ppm/°C Reference or External Reference; (8)True Differential Inputs Reject Common Mode Noise; (9)5MHz Full Power Bandwidth; (10)±2.5V Bipolar Input Range; (11)36-Pin SSOP Package.
Diagrams

| Image | Part No | Mfg | Description | ![]() |
Pricing (USD) |
Quantity | ||||||||||
|---|---|---|---|---|---|---|---|---|---|---|---|---|---|---|---|---|
![]() |
![]() LTC1604AIG#PBF |
![]() |
![]() IC A/D CONV 16BIT SAMPLNG 36SSOP |
![]() Data Sheet |
![]()
|
|
||||||||||
| Image | Part No | Mfg | Description | ![]() |
Pricing (USD) |
Quantity | ||||||||||
![]() |
![]() LTC1040 |
![]() Other |
![]() |
![]() Data Sheet |
![]() Negotiable |
|
||||||||||
![]() |
![]() LTC1040CN |
![]() |
![]() IC COMPARATOR LOW PWR DUAL 18DIP |
![]() Data Sheet |
![]()
|
|
||||||||||
![]() |
![]() LTC1040CN#PBF |
![]() |
![]() IC COMPARATOR LOW PWR DUAL 18DIP |
![]() Data Sheet |
![]()
|
|
||||||||||
![]() |
![]() LTC1040CSW |
![]() |
![]() IC COMPARATOR LOW PWR DUAL18SOIC |
![]() Data Sheet |
![]()
|
|
||||||||||
![]() |
![]() LTC1040CSW#PBF |
![]() |
![]() IC COMPARATOR LOW PWR DUAL18SOIC |
![]() Data Sheet |
![]()
|
|
||||||||||
![]() |
![]() LTC1040CSW#TR |
![]() |
![]() IC COMPARATOR DUAL LOWPWR 18SOIC |
![]() Data Sheet |
![]()
|
|
||||||||||
(China (Mainland))












