Product Summary
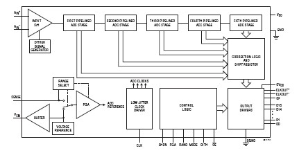
The LT5512EUF is an Analog to Digital Converter. The LT5512EUF is a 20Msps, sampling 16-bit A/D converter designed for digitizing high frequency, wide dynamic range signals with input frequencies up to 380MHz. The input range of the ADC can be optimized with the PGA front end. The LT5512EUF is perfect for demanding app lications, with AC performance that includes 81.6dB SNR and 100dB spurious free dynamic range (SFDR). Maximum DC specs include ±5LSB INL, ±1LSB DNL (no missing codes). A separate output power supply allows the CMOS output swing to range from 0.5V to 3.6V. A single-ended CLK input controls converter operation. An optional clock duty cycle stabilizer allows high performance at full speed with a wide range of clock duty cycles. The applications of the LT5512EUF include Telecommunications, Receivers, Cellular Base Stations, Spectrum Analysis, Imaging Systems and ATE.
Parametrics
LT5512EUF absolute maximum ratings: (1)Supply Voltage (VDD): –0.3V to 4V; (2)Digital Output Supply Voltage (OVDD): –0.3V to 4V; (3)Digital Output Ground Voltage (OGND): –0.3V to 1V; (4)Analog Input Voltage (Note 3): –0.3V to (VDD + 0.3V); (5)Digital Input Voltage: –0.3V to (VDD + 0.3V); (6)Digital Output Voltage: –0.3V to (OVDD + 0.3V); (7)Power Dissipation: 2000mW; (8)Operating Temperature Range: 0℃ to 70℃; (9)Storage Temperature Range: –65℃ to 150℃.
Features
LT5512EUF features: (1)Sample Rate: 20Msps; (2)81.6dB SNR and 100dB SFDR (2.5V Range); (3)90dB SFDR at 70MHz (1.667VP-P Input Range); (4)PGA Front End (2.5VP-P or 1.667VP-P Input Range); (5)380MHz Full Power Bandwidth S/H; (6)Optional Internal Dither; (7)Optional Data Output Randomizer; (8)Single 3.3V Supply; (9)Power Dissipation: 211mW; (10)Clock Duty Cycle Stabilizer; (11)Out-of-Range Indicator.
Diagrams

| Image | Part No | Mfg | Description | ![]() |
Pricing (USD) |
Quantity | ||||||||||
|---|---|---|---|---|---|---|---|---|---|---|---|---|---|---|---|---|
![]() |
![]() LT5512EUF |
![]() |
![]() IC MIXER DWNCONV HI SIGN 16-QFN |
![]() Data Sheet |
![]()
|
|
||||||||||
![]() |
![]() LT5512EUF#PBF |
![]() |
![]() IC MIXER DWNCONV HI SIGN 16-QFN |
![]() Data Sheet |
![]()
|
|
||||||||||
![]() |
![]() LT5512EUF#TR |
![]() |
![]() IC MIXER DOWN-CONV BRDBND 16-QFN |
![]() Data Sheet |
![]()
|
|
||||||||||
![]() |
![]() LT5512EUF#TRPBF |
![]() |
![]() IC MIXER DWNCONV HI SIGN 16-QFN |
![]() Data Sheet |
![]()
|
|
||||||||||
(China (Mainland))









