Product Summary
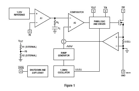
The LTC3426ES6#T is a Step-Up DC/DC Converter. The LTC3426ES6#T step-up switching regulator generates an output voltage of up to 5.5V from an input voltage as low as 1.6V. Ideal for applications where space is limited, it switches at 1.2MHz, allowing the use of tiny, low cost and low profile external components. Its internal 2A, 100mΩ NMOS switch provides high efficiency even at heavy load, while the constant frequency, current mode architecture results in low, predictable output noise that is easy to filter. Antiringing circuitry reduces EMI concerns by damping the inductor while in discontinuous mode, and internal soft-start eases inrush current worries. Internal frequency compensation is designed to accommodate ceramic output capacitors, further reducing noise. The LTC3426ES6#T features very low shutdown current of 0.5μA. The applications of the LTC3426ES6#T include White LED Driver Supply, Local 3.3V or 5V Supply and Battery Back-Up.
Parametrics
LTC3426ES6#T absolute maximum ratings: (1)VIN Voltage: –0.3V to 6V; (2)SW Voltage: –0.3V to 6V; (3)SHDN, FB Voltage: –0.3V to 6V; (4)VOUT: –0.3V to 6V; (5)Operating Temperature Range (Note 2): –40℃ to 85℃; (6)Storage Temperature Range: –65℃ to 125℃; (7)Lead Temperature (Soldering, 10 sec): 300℃.
Features
LTC3426ES6#T features: (1)Internal 2A MOSFET Switch; (2)1.2MHz Switching Frequency; (3)Integrated Soft-Start; (4)Low 1.6V VIN Operation; (5)Low RDS(ON) Switch: 100mΩ at 5V Output; (6)Delivers 5V at 800mA from a 3.3V Input; (7)Delivers 3.3V at 800mA from a 2.5V Input; (8)Uses Small, Low Profile External Components; (9)Low Profile (1mm) SOT-23 (ThinSOTTM) Package.
Diagrams

| Image | Part No | Mfg | Description | ![]() |
Pricing (USD) |
Quantity | ||||||||||
|---|---|---|---|---|---|---|---|---|---|---|---|---|---|---|---|---|
![]() |
![]() LTC3426ES6#TRMPBF |
![]() |
![]() IC REG BOOST ADJ 2A TSOT23-6 |
![]() Data Sheet |
![]()
|
|
||||||||||
![]() |
![]() LTC3426ES6#TRPBF |
![]() |
![]() IC REG BOOST ADJ 2A TSOT23-6 |
![]() Data Sheet |
![]()
|
|
||||||||||
(China (Mainland))









