Product Summary
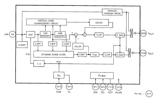
The TC90A49P is a 3 line digital Y / C separator IC.
Parametrics
TC90A49P absolute maximum ratings: (1)Power Supply Voltage: VSS + 6.0 V; (2)Pin Voltage Max: VDD + 0.3 V; (3)Min: VSS -0.3 V; (4)Power Dissipation : PD 550 mW; (5)Power Dissipation : 458 mW; (6)Storage Temperature : -55 to 125 ℃.
Features
TC90A49P features: (1)TV format : NTSC (3.58), PAL, M-PAL, and N-PAL; (2)Dynamic comb filter; (3)Vertical edge enhancement circuit; (4)PLL 8 × multiplier circuit; (5)Internal 8-bit 4 fsc AD converter; (6)Internal 8-bit precision 8 fsc DA converter (2 ch); (7)Sync tip clamp circuit; (8)Internal 4H-line memory; (9)I2C bus interface; (10)Package : DIP 20-pin and SOP 24-pin; (11)5 V single power supply.
Diagrams

| Image | Part No | Mfg | Description | ![]() |
Pricing (USD) |
Quantity | ||||
|---|---|---|---|---|---|---|---|---|---|---|
![]() |
![]() TC90A49P |
![]() Other |
![]() |
![]() Data Sheet |
![]() Negotiable |
|
||||
| Image | Part No | Mfg | Description | ![]() |
Pricing (USD) |
Quantity | ||||
![]() |
![]() TC901 |
![]() Other |
![]() |
![]() Data Sheet |
![]() Negotiable |
|
||||
![]() |
![]() TC9020 |
![]() Other |
![]() |
![]() Data Sheet |
![]() Negotiable |
|
||||
![]() |
![]() TC9021 |
![]() Other |
![]() |
![]() Data Sheet |
![]() Negotiable |
|
||||
![]() |
![]() TC9028AF |
![]() Other |
![]() |
![]() Data Sheet |
![]() Negotiable |
|
||||
![]() |
![]() TC9028F |
![]() Other |
![]() |
![]() Data Sheet |
![]() Negotiable |
|
||||
![]() |
![]() TC9090AF |
![]() Other |
![]() |
![]() Data Sheet |
![]() Negotiable |
|
||||
(China (Mainland))









