Product Summary
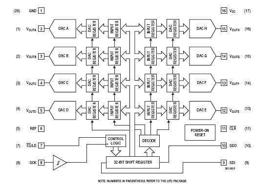
The LTC2620IGN#PBF is a Digital-to-Analog Converter. The LTC2620IGN#PBF is rail-to-rail voltage-output DAC in 16-lead narrow SSOP and 20-lead 4mm x 5mm QFN package. The LTC2620IGN#PBF has built-in high performance output buffers and are guaranteed monotonic. These parts establish new board-density benchmarks for 16- and 14-bit DACs and advance performance standards for output drive, crosstalk and load regulation in single-supply, voltage-output multiples. The parts use a simple SPI/MICROWIRE compatible 3-wire serial interface which can be operated at clock rates up to 50MHz. Daisychain capability and a hardware CLR function are included. The applications of the LTC2620IGN#PBF include Mobile Communications, Process Control and Industrial Automation, Instrumentation and Automatic Test Equipment.
Parametrics
LTC2620IGN#PBF absolute maximum ratings: (1)Any Pin to GND: –0.3V to 6V; (2)Any Pin to VCC: –6V to 0.3V; (3)Operating Temperature Range: –40℃ to 85℃; (4)Storage Temperature Range: –65℃ to 150℃; (5)Maximum Junction Temperature: 125℃; (6)Lead Temperature (Soldering, 10 sec): 300℃.
Features
LTC2620IGN#PBF features: (1)Guaranteed 16-Bit Monotonic Over Temperature; (2)Wide 2.5V to 5.5V Supply Range; (3)Low Power Operation: 250μA per DAC at 3V; (4)Individual Channel Power-Down to 1μA, Max; (5)Ultralow Crosstalk Between DACs (<10μV); (6)High Rail-to-Rail Output Drive (±15mA, Min); (7)Double-Buffered Digital Inputs; (8)Pin-Compatible 10-/8-Bit Versions (LTC1660/LTC1665); (9)Tiny 16-Lead Narrow SSOP and 20-Lead 4mm × 5mm QFN Packages.
Diagrams

| Image | Part No | Mfg | Description | ![]() |
Pricing (USD) |
Quantity | ||||||||||
|---|---|---|---|---|---|---|---|---|---|---|---|---|---|---|---|---|
![]() |
![]() LTC2620IGN#PBF |
![]() |
![]() IC DAC OCTAL R-R 12BIT 16SSOP |
![]() Data Sheet |
![]()
|
|
||||||||||
| Image | Part No | Mfg | Description | ![]() |
Pricing (USD) |
Quantity | ||||||||||
![]() |
![]() LTC201A |
![]() Other |
![]() |
![]() Data Sheet |
![]() Negotiable |
|
||||||||||
![]() |
![]() LTC201ACN |
![]() |
![]() IC SWITCH QUAD SPST 16DIP |
![]() Data Sheet |
![]()
|
|
||||||||||
![]() |
![]() LTC201ACN#PBF |
![]() |
![]() IC SWITCH QUAD SPST 16DIP |
![]() Data Sheet |
![]()
|
|
||||||||||
![]() |
![]() LTC201ACS |
![]() |
![]() IC SWITCH QUAD SPST 16SOIC |
![]() Data Sheet |
![]()
|
|
||||||||||
![]() |
![]() LTC201ACS#PBF |
![]() |
![]() IC SWITCH QUAD SPST 16SOIC |
![]() Data Sheet |
![]()
|
|
||||||||||
![]() |
![]() LTC201ACS#TR |
![]() |
![]() IC SWITCH QUAD SPST 16SOIC |
![]() Data Sheet |
![]()
|
|
||||||||||
(China (Mainland))












