Product Summary
The UPD70320GJ-8 is a single-chip microcontroller.
Parametrics
UPD70320GJ-8 absolute maximum ratings: (1)Supply Voltage : – 0.5 to +7.0 V; (2)Input Voltage : – 0.5 to VDD + 0.5 V; (3)Output Voltage : – 0.5 to VDD + 0.5 V; (4)Output Current Low : 4.0 mA; (5)Output Current High : –2.0 mA; (6)Operating Ambient Temperature : –40 to +85 ℃; (7)Storage Temperature : – 65 to +150 ℃.
Features
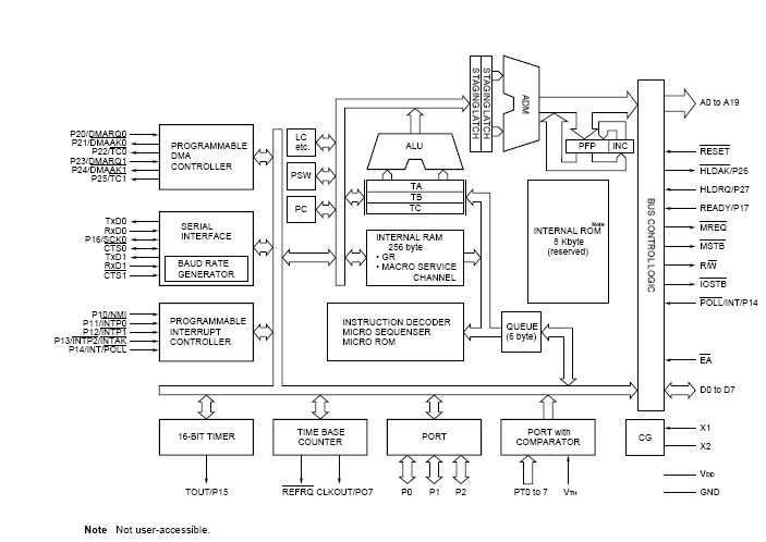
UPD70320GJ-8 features: (1)On-chip RAM : 256 words ?8 bits; (2)Input port (port T) with comparator : 8 bits; (3)I/O lines (input port : 4 bits, input/output port : 20 bits); (4)Serial interface (internal dedicated baud rate generator) : 2 channels Asynchronous mode and I/O interface mode; (5)DRAM and pseudo SRAM refreshing functions; (6)DMA controller : 2 channels; (7)16-bit timer : 2 channels; (8)Time base counter; (9)On-chip clock generator; (10)Programmable wait function; (11)Standby function (STOP/HALT).
Diagrams

![]() |
![]() UPD70008AG-4 |
![]() Other |
![]() |
![]() Data Sheet |
![]() Negotiable |
|
||||
![]() |
![]() UPD70236AGD-10-5BB |
![]() Other |
![]() |
![]() Data Sheet |
![]() Negotiable |
|
||||
![]() |
![]() UPD7030025AGC-25 |
![]() Other |
![]() |
![]() Data Sheet |
![]() Negotiable |
|
||||
![]() |
![]() UPD703014A |
![]() Other |
![]() |
![]() Data Sheet |
![]() Negotiable |
|
||||
![]() |
![]() UPD703014AY |
![]() Other |
![]() |
![]() Data Sheet |
![]() Negotiable |
|
||||
![]() |
![]() UPD703015A |
![]() Other |
![]() |
![]() Data Sheet |
![]() Negotiable |
|
||||
(China (Mainland))








